Aller au contenu

GM vient d’inventer des essuie-glace intelligents

GM vient d’inventer des essuie-glace intelligents
GM vient d’inventer des essuie-glace intelligents. / Auto123.com

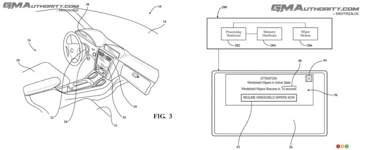
General Motors travaille actuellement sur une technologie inédite qui permettrait à ses véhicules de détecter automatiquement le moment idéal pour arrêter les essuie-glace, afin d’éviter les passages inutiles sur un pare-brise déjà sec et dégagé. Et non, ce ne sont pas les simples systèmes de détection de pluie actuels.

Ce système, encore au stade de développement, promet d’augmenter le confort des conducteurs tout en réduisant l’usure prématurée des balais, le bruit strident de caoutchouc sur une vitre sèche, et l’énergie consommée inutilement par le moteur des essuie-glace.

Le concept
L’idée paraît peut-être simple. En se fiant à des capteurs combinés à des algorithmes intelligents, les futurs modèles de GM pourraient désactiver automatiquement les essuie-glace, avant que les conducteurs n’aient le temps de tendre la main vers la commande. Finies les hésitations à propos du bon moment pour couper l’actionnement automatique, surtout lors de ces averses passagères où la pluie s’arrête aussi soudainement qu’elle a commencé.

Chevrolet Equinox
Chevrolet Equinox | Auto123.com

Ce nouveau dispositif pourrait mettre fin à un des petits irritants du quotidien : le fameux passage d'essuie-glace grinçants sur la vitre, quand il ne pleut plus depuis quelques secondes. Au-delà du confort, cela contribue à préserver le caoutchouc des balais et évite une usure prématurée des composants électriques du système. C'est aussi un petit coup de pouce en matière d’économie d’énergie.

GM vient d’inventer des essuie-glace intelligents | Auto123.com
GM vient d’inventer des essuie-glace intelligents | Auto123.com

Inventé mais pas commercialisé
Aucune date de commercialisation n’a encore été précisée, mais tout porte à croire que cette innovation s’alignerait avec d’autres initiatives « intelligentes » déjà mises en place par GM pour l’automatisation de certaines fonctions quotidiennes à bord. Le constructeur a déjà déposé un brevet en ce sens auprès des autorités américaines.

Bref, voilà une innovation qui pourrait bien essuyer, sans mauvais jeu de mots, quelques frustrations bien connues des automobilistes.

Contenu original de auto123.

Vous aimerez aussi

Reçois le meilleur du 96.9 CKOI!

Reste connecté à CKOI où que tu sois et reçois nos meilleures promotions et du contenu exclusif directement dans ta boîte courriel!

En m’abonnant, j’accepte de recevoir des communications par courriel de Cogeco Média et de ses sociétés affiliées, y compris des nouvelles, des mises à jour, des activités et des concours. Vous pouvez vous désabonner en tout temps en utilisant le lien au bas de nos courriels ou en nous contactant par le biais de notre Politique en matière de protection des renseignements personnels. Veuillez noter, cependant, que nous pouvons continuer à vous envoyer des communications liées au service et d’autres communications non commerciales. Ce site est protégé par reCAPTCHA et la politique de confidentialité de Google et les les conditions d'utilisation s'appliquent.